|
產品名稱:HF-4乙炔阻火器
產品型號:HF-4
產品口徑:DN20~DN100
產品壓力:1.6MPa~4.0MPa
產品材質:碳鋼、不銹鋼、銅合金
產品口徑:DN20~DN100
產品壓力:1.6MPa~4.0MPa
產品材質:碳鋼、不銹鋼、銅合金
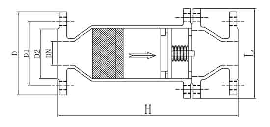
產品名稱:乙炔阻火器 產品型號:HF-4 公稱通徑:DN20~DN100功能作用:阻火公稱壓力:1.6MPa~4.0MPa連接方式:法蘭、螺紋適用溫度:-80ºC~+350ºC安裝
產品說明HF-4乙炔阻火器是一種乙炔專用的回火器,采用特種銅合金和不銹鋼、碳鋼制作而成。它在乙炔管道中具有阻止火苗的特點??捎行У厍袛嗷鹪?,杜絕管道中燃爆事故的發生。在工業乙炔管道過程中,越來越顯示它的必要性與阻燃的優越性。作用原理HF-4乙炔阻火器的作用是防止外部火焰竄入存有易燃易爆氣體的設備、管道內或阻止火焰在設備、管道間蔓延。是應用火焰通過熱導體的狹小孔隙時,由于熱量損失而熄滅的原理設計制造。性能特點1、可以迅速阻斷火源,杜絕管道中燃爆事故的發生。2、可以有效地防止乙炔管道閥門在突然開啟時易形成的“絕熱壓縮”,局部溫度驟升,成為著火能源。 3、可以防止在閥門前后壓差作用下,高速運動的物質微粒(如鐵銹、粉塵、焊渣等)與閥后管道摩擦、撞擊產生火花而成為著火能源。 4、連續13次阻爆性能試驗每次均能阻火。耐燒性能合格,耐燒試驗1小時無回火現象。 5、殼體水壓試驗合格。符合國家標準GB5908-86的要求。 阻火層采用不銹鋼“N”形,雙層波紋帶為阻火芯件而且在芯件內部有一個十字結構的支架(或在表面壓上Y形架)借以增強芯件的牢靠性,避免芯件被點燃的介質所產生的爆炸壓力沖散。以此原理來設計三角形孔的高度阻止火焰的通過,再加上足夠的流道長度來吸收火焰的熱量,使其在芯件中熄滅,避免了氣體在芯件的另一端被復燃的可能性。外形結構圖![]() 主要外形尺寸
|


關注官方微信