|
產品名稱:ZDSJ電子式電動角式調節閥
產品型號:ZDSJ
產品口徑:DN15~DN200
產品壓力:1.6MPa~32.0MPa
產品材質:鑄鋼、不銹鋼
產品口徑:DN15~DN200
產品壓力:1.6MPa~32.0MPa
產品材質:鑄鋼、不銹鋼
產品名稱:電子式電動角式調節閥 產品型號:ZDSJ 公稱通徑:DN15~DN200結構形式:單座、套筒公稱壓力:1.6MPa~32.0MPa連接方式:法蘭、焊接、螺紋適用溫度:-29ºC~+
產品說明ZDSJ電子式電動角式調節閥由3810L型(或PSL系列)直行程電子式電動執行機構和角型調節閥體組成。內含飼服功能,接受統一的4-20mA或1-5V·DC的標準信號,將電流信號轉變成相對應的直線位移,自動地控制調節閥開度,達到對管道內流體的壓力、流量、溫度、液位等工藝參數的連續調節。電子式電子式電動角式調節閥具有動作靈敏、連線簡單、流量大、體積小、調節精度高等特點。 閥體為直角形,閥芯為單導向結構,閥體流路簡單,阻力小。電子式電子式電動角式調節閥特別適用于高粘度,含有懸浮物和顆粒狀介質流體的調節,可避免結焦、粘結、堵塞。閥體
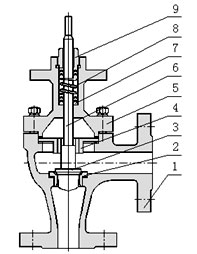
閥內件
執行機構
閥體參數
主要技術參數(高壓型)
主要技術性能指標(普通型)
回 差 : 配3810L 執行機構為2.0%; 配PSL執行機構為 1.0% 基本誤差: 配3810L執行機構為±2.5%; 配PSL執行機構為±1.0% 注:測試使用的填料為標準聚四氟乙烯填料。 允許壓差
主要零件材料
外形結構圖![]() 主要外形尺寸
執行機構結構圖![]() 本執行器主要由以下幾部分組成; 1、控制器:接受來自調節器的 DC4 ~ 20mA 或 DC1 ~ 5V 信號,控制執行器按預定模式工作。 2、傳動機構:把電機的旋轉運動變成動力輸出軸的直線往復運動,實現調節閥的開關和調節功能。 3 、開度檢測機構:將輸出軸的直線運動位移(閥芯的開度)經齒條、齒輪反饋給電位器,由電位器轉換成電信號再反饋給控制器,當來自調節器的輸入信號和閥芯的開度信號之差為零時,電機將停止工作。 4 、聯結機構:通過支架將執行器和被控閥門聯結,并由開合螺母將執行器輸出軸和閥桿連接,開合螺母上帶有指針,支架上有標尺,可指示輸出軸(或閥桿)的位移 5 、手動機構:本執行器還設計有手動機構,在斷電情況下,根據需要可由手動操作來完成調節閥的開、關和調節功能。 接線圖![]() 主要特點3810L系列直行程電子式電動執行器是以220V交流單相電源做為驅動電源,接受來自調節器控制信號(DC4 ~ 20mA 或 DC1 ~ 5V),實現預定直線往復運動的新型執行器。本系列執行器被用作調節閥的執行機構時,幾乎具備了調節閥本身所要求的各種動作變換功能以及閥開度信號功能和手動功能。因此被廣泛應于發電、冶金、石化、輕工及環保等工業部門。主要特點1.1 執行器設計有伺服系統(無需另配伺服放大器),只需接入DC4 ~ 20mA(或DC1 ~5V)信號和AC220V單相電源即可工作。內設接線端子,接線極為簡單 方便。 1.2 執行器的關鍵部件 — 控制器,采用最先進的混合集成電路,用樹脂密 封澆鑄,外形為匣狀,體積小,可靠性高。 1.3 驅動量的反饋檢測采用高性能導電塑料電位器,分辨率< 0.4%。 1.4 具備自診斷功能,當發生故障時,控制器上的指示燈會立即發出指示信號。 1.5 用狀態選擇開關可以設定斷信號時,(閥芯處于全開,全閉或自鎖狀態。) 1.6 用狀態選擇開關可以設定(正、反動作。) 1.7 用狀態選擇開關可以設定輸入信號為(DC4~20mA或DC1~5V。) 1.8 調整工作零點(始點)和行程(終點)簡單易行。 1.9 當突然斷電時,能確保閥芯自鎖。 1.10 采用同步皮帶轉動,有效降低了噪音。 1.11 延時保護功能,額定負載時,能實行狀態自鎖,故障發生時,能立即起 動保護,并可反向運行取消延時保護。 2 主要技術參數 2.1 電源:AC220V±10%,50HZ 2.2 耗電功率(額定負載時) 規格 A 型執行器 50VA; 規格 B 型執行器 150VA; 規格 C 型執行器 220VA。 2.3 輸入信號:DC4 ~ 20mA 或 DC1 ~ 5V。 2.4 輸出信號:DC4 ~ 20mA(負載電阻礙500Ω以下)。 2.5 控制精度:基本誤差:±1%;回差≤1%;死區≤1%。 2.6 工作行程調整范圍:“零點”:±25%;“行程”20% ~ 100%。 2.7 外部配線:輸入輸出信號應采用屏蔽電纜。電源線不得與信號線共用一根電纜。 直行程3810L、3410L系列
角行程3810R、3410R系列
|
|||||||||||||||||||||||||||||||||||||||||||||||||||||||||||||||||||||||||||||||||||||||||||||||||||||||||||||||||||||||||||||||||||||||||||||||||||||||||||||||||||||||||||||||||||||||||||||||||||||||||||||||||||||||||||||||||||||||||||||||||||||||||||||||||||||||||||||||||||||||||||||||||||||||||||||||||||||||||||||||||||||||||||||||||||||||||||||||||||||||||||||||||||||||||||||||||||||||||||||||||||||||||||||||||||||||||||||||||||||||||||||||||||||||||||||||||||||||||||||||||||||||||||||||||||||||||||||||||||||||||||||||||||||||||||||||||||||||||||||||||||||||||||||||||||||||||||||||||||||||||||||||||||||||||||||||||||||||||||||||||||||||||||||||||||||||||||||||||||||||||||||||||||||||||||||||||||||||||||||||||||||||||||||||||||||||||||||||||||||||||||||||||||||||||||||||||||||||||||||||||||||||||||||||||||||||||||||||||||||||||||||||||||||||||||||||||||||||||||||||||||||||||||||||||||||||||||||||||||||||||||||||||||||||||||||||||||||||||||||||||||||||||||||||||||||||||||||||||||||||






關注官方微信