|
產品名稱:YZ11X支管式減壓閥
產品型號:YZ11X
產品口徑:DN15~DN50
產品壓力:
產品材質:不銹鋼、黃銅
產品口徑:DN15~DN50
產品壓力:
產品材質:不銹鋼、黃銅
產品名稱:支管式減壓閥 產品型號:YZ11X 公稱通徑:DN15~DN50結構形式:彈簧式工作壓力:1.0MPa~1.6MPa連接方式:內螺紋適用溫度:-20ºC~+570ºC功能
產品說明YZ11X支管式減壓閥主要用于各種建筑給水系統、消防系統、中央空調系統、采暖系統等。它用于支管減壓,可使供水壓力分配更加均衡,避免部分供水超壓,優化高層建筑給水分區。它可代替分區調頻變速水泵,在消防給水系統上可代替分區水泵,用于家用給水系統,可保護所有的水龍頭和其它水器具。結構特點1、采用直接作用隔膜式結構,內部結構非常簡單,無卡阻,性能可靠,經久耐用。2、耐臟防水垢,不需過濾器,不需旁通管,配管極其簡單,能節省大量空間和配管成本。 3、極佳的水力特性,壓力損失小,減壓比可達成10:1以上。 4、可滿足多種減壓要求,特別適用于支管減壓系統。 5、出口壓力精密可調,在一般場合下,可以認為出口壓力不受進口壓力的影響(出口壓力的變化量是△P1的8%)。 工作原理出口壓力作用在隔膜底面和閥瓣底面,當它超過彈簧設定值時,壓縮彈簧,使閥瓣關閉。只要下游無水流動,出口壓力將基本保持在設定值(其變化量僅為入口壓力變化量的8%);當下游用水時,出口壓力下降,彈簧推開隔膜,打開減壓閥。水流連續流通一陣后,減壓閥的開啟產生自阻尼效應,使啟閉動作趨于平穩。技術參數
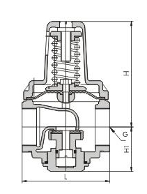
外形結構圖![]() 主要外形尺寸
|
||||||||||||||||||||||||||||||||||||||||||||||||||||||||||||||||||||||||||||||||||||||||||||||||||


關注官方微信