|
產品名稱:HG5-16-79搪玻璃放料閥
產品型號:HG5-16-79
產品口徑:DN25~DN200
產品壓力:0.6MPa
產品材質:鑄鐵+搪玻璃
產品口徑:DN25~DN200
產品壓力:0.6MPa
產品材質:鑄鐵+搪玻璃
產品名稱:搪玻璃放料閥 產品型號:HG5-16-79 公稱通徑:DN25~DN200結構形式:上展式、下展式公稱壓力:0.6MPa連接方式:法蘭適用溫度:-30ºC~+240ºC驅
產品說明HG5-16-79搪玻璃放料閥內襯搪磁玻璃是含高硅量的玻璃質釉,通過900℃左右高溫涂于金屬胎而成。它具有良好的機械性能和耐腐蝕性能,能防止介質與金屬離子取代作用而影響污染制品,并且表面光潔、耐磨、有一定的熱穩定性。在化工、石油、冶金、制藥、農藥、染料、食品加工等行業廣泛使用。性能特點1、具有光滑的表面。不易粘結物料、易清洗。2、能耐一般無機酸、有機酸弱堿液(P≤60℃ PH≤12)以及有機劑介質。 3、耐熱性,允許在-30℃至+240℃間使用(耐溫急變小于120℃)。 4、絕緣性:玻璃料有良好的絕緣性,厚1mm的玻璃在2000伏的高壓下不會被擊穿而導電。 5、耐沖擊性:耐沖擊性能較小為2500克/厘米,因而使用時應避免硬物沖擊。 工作原理HG5-16-79搪玻璃放料閥可分上展或下展式放料,上展式的手輪往右邊轉為關,往左邊轉為開,下展式的手輪往右邊轉為開,往左邊轉為關閉,閥體為V型,并提供提升和下降兩種工作方式的閥瓣。適用范圍
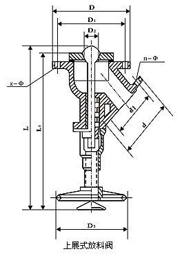
外形結構圖![]() 主要外形尺寸(上展式)
外形結構圖![]() 主要外形尺寸(下展式)
安裝使用注意事項1、凡與瓷面接觸的地方必須用石棉或四氟片等軟墊。使用工具不能與瓷面沖擊或摩擦,更不能用金屬工具鏟打。2、在緊固螺絲時四周以等力上緊,防止瓷面受力不勻而裂瓷。放料閥絲桿要經常保持潤滑、防止生銹。 3、流經介質只能是液態,不得有硬顆粒混入液體內,防止瓷面起毛或堵塞,以及開啟失靈等等。 4、在安裝時應注意各部的螺絲受力是否平衡、升降(活動)是否靈活。 5、在搪瓷面的各部密封件應保持中心位置。壓力均勻,以防泄漏。 6、使用時如發現有漏,應立即檢查密封裝置是否確當、不能用鐵棍、桿把手輪硬扳緊,以免損壞零件。 7、出料當受阻塞時,可以使用金屬桿或硬性工具疏通,不得使用金屬桿或硬性工具。 8、應盡量避免酸堿介質交替使用(除中和反應介質),以免縮短壽命。 9、根據介質性能及使用期,應經常檢查閥體頸部四氟密封圈和孔板部的四氟薄片。如發現有損壞應及時更換再使用。 10、若發現瓷面有損壞時應立即停用。可用專門涂料修補患處,或委托有關生產單位重新現做搪瓷。
|



關注官方微信