|
產品名稱:CS18H脈沖式熱動力疏水閥
產品型號:CS18H
產品口徑:DN15~DN50
產品壓力:1.6MPa~2.5MPa~4.0MPa
產品材質:鑄鋼、不銹鋼
產品口徑:DN15~DN50
產品壓力:1.6MPa~2.5MPa~4.0MPa
產品材質:鑄鋼、不銹鋼
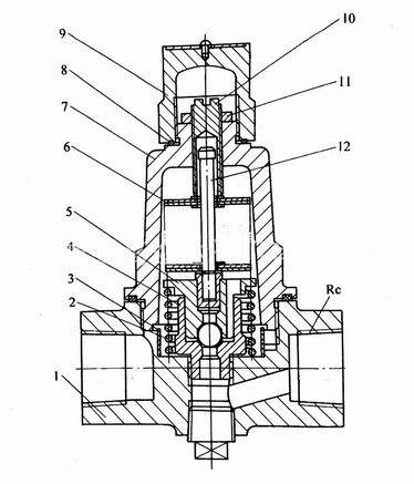
產品名稱:脈沖式熱動力疏水閥 產品型號:CS18H 公稱通徑:DN15~DN50結構形式:脈沖式公稱壓力:1.6MPa~2.5MPa~4.0MPa連接方式:法蘭、內螺紋、承插焊適用溫度:-29&ord
產品說明CS18H脈沖式熱動力疏水閥有和兩個孔板根據蒸汽壓降變化調節閥門開關,即使閥門完全關閉入口和出口也是通過第一、第二個小孔相通,始終處于不完全關閉狀態,蒸汽不斷逸出,漏汽量大。該疏水閥動作頻率很高,磨損厲害、壽命較短。體積小、耐水擊,能排出空氣和飽和溫度水,接近連續排水,最大背壓25%,因此使用者很少。外形結構圖![]() 脈沖式:由于不同溫度的凝結水通過兩極串連節流孔板式,坐在兩極節流孔板之間形的不同壓力,驅使閥瓣動作。
|


關注官方微信